Що потрібно знати фермеру перед будівництвом корівника на 10 голів за кресленнями своїми руками

Корівник на 10 голів своїми руками: креслення можуть бути довільними

При наявності можливості кожен домовласник може завести собі одну або кілька корів, щоб вирощувати їх на м'ясо або регулярно отримувати молоко. Нижче наводиться корисна інформація для бажаючих обладнати корівник на 10 голів своїми руками.

Корови в корівнику

Креслення такого приміщення зовсім нескладні. Однак існують певні правила утримання тварин.

Будівельні матеріали для корівника

Для будівництва корівника підходять різні види матеріалів. Досвідчені господарники застосовують:

Саман нескладно виготовити власноруч в побутових умовах. Для його виготовлення знадобиться: глина, солома, пісок.

Розглянемо основні переваги цегли:

  • Висока міцність.
  • Стійкість до низьких температур.
  • Вогнетривкість.
  • Висока тривалість експлуатаційного періоду.

Все поголів'я худоби на фермі має зберігати вагу. Корови різко починають худнути при утриманні їх в промерзлих приміщеннях.

Шлакоблочний цегла чудово підходить для будівництва. За допомогою цементу з'єднуються різні види наповнювачів. Штучні камені для стін не кришаться і не дають усадку. Шлакоблоки для фундаменту відрізняються довговічністю експлуатації. Такий матеріал один з найдоступніших за вартістю.

Ракушняк можна придбати за помірною ціною. Матеріал має такі переваги:

  • Візуально приваблива структура.
  • Порівняно мала вага.
  • Легкість у застосуванні.

При закладці фундаменту під корівник потрібно розраховувати, щоб його підстава витримувало великі навантаження. Конструкція повинна бути максимально міцною. Щоб під впливом великих навантажень на фундамент по стінах і даху не пішли тріщини, для закладки потрібно застосовувати якісну цеглу або бут.

Спершу робиться опалубка, щоб застосовувані будівельні матеріали можна було залити цементним розчином. Якщо земля, на якій риється траншея під фундамент, дуже тверда, потрібно заглиблюватися на 50 сантиметрів. Обов'язково необхідна гідроізоляція.

Усередині корівника стіни повинні бути сухими і теплими. Якщо приміщення будується з саману, вся робота обійдеться недорого, в такому корівнику спокійно переживуть зиму 200 особин. По нижньому периметру стіни робиться облицювання з простого цегли. При проектуванні корівника у себе на ділянці потрібно врахувати багато різних факторів, що впливають на стан будівлі і змінюють умови проживання худоби. Покладена кладка в півтори цеглини забезпечує збереження тепла в корівнику.

зведення корівника

Зсередини стіни штукатуряться і белятся. При попаданні сонячних променів на побілку в хліві стає світліше. При будівництві стін можливе застосування декількох матеріалів одночасно. Щоб забезпечити максимальне утримання тепла, використовуються пористи будматеріали.

Підлогове покриття

Для корівника з поголів'ям 100-120 особин потрібно водонепроникне покриття для підлоги. Підлога має бути рівною, щоб було зручно прибирати гній. Пол в корівнику вимагає якісного утеплення, щоб в холодну пору тварини не хворіли. Для подібних цілей краще всього підходить деревина. Недоліком такого матеріалу є порівняно невисока тривалість експлуатаційного періоду. Дерев'яна підлога прослужить близько 4 років. Матеріал з часом загниває, тому покриття доводиться перестилати.

Підлоги в корівнику часто робляться з бетону або цементу. Щоб худоба не мерзла взимку, потрібно суха підстилка з тирси або соломи, яка регулярно змінюється на суху. Застосування обпаленої цегли для обладнання підлогового покриття в корівнику теж часто практикується.

Матеріал відрізняється від дерева міцністю і здатністю утримувати тепло. Підлоги з цегли служать 10 років і більше.

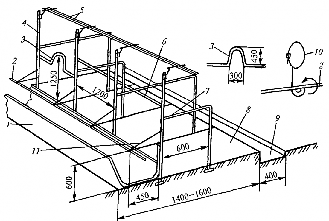
Сток в корівнику

Для корівника з кількістю 150-200 голів необхідно облаштовувати стік, щоб не було скупчення гною в приміщенні. Настил підлоги проводиться з ухилом, а в кінці робиться канавка, в яку будуть зливатися сеча і фекалії в спеціальну трубу і виводитися за межі корівника. Якщо не прибирати гній своєчасно, в корівнику можуть завестися шкідливі мікроорганізми.

Малобюджетні шифер і черепиця можуть бути використані для покрівельних робіт. Дах обов'язково утеплюється, горищне приміщення можна використовувати для сушки і зберігання сіна. Якщо в корівнику знаходиться близько 200 тварин, необхідно його регулярне провітрювати. Підйомний козирок даху прекрасно справляється з цим завданням.

Облаштування стійл в хліві

Багато недосвідчених тваринники цікавляться: як сплять корови – стоячи або лежачи? Щоб можна було відпочити, тварини лягають. Місця для годування повинні бути комфортними.

Розміри стійл в корівнику

Кожній корові виділяється стійло з великою годівницею, щоб туди містилося достатню кількість їжі. Стандартні її розміри такі годівниць:

  • Висота – 65-70 см.
  • Ширина – 85 см.
  • Довжина – 1,0-1,3 м.

Для її виготовлення можна використовувати дошки і цегла. Тварина прив'язується до стійла м'якої міцної мотузкою до 1,5 м в довжину. Правильно облаштоване стійло забезпечує тварині комфортне проживання.

способи змісту

Прив'язний спосіб з обмеженим переміщенням тварини. Обладнується специфічне стійло з фіксатором. Тварини можуть вільно є, стояти або лежати. Таким чином, вони захищені від травм і контакту з іншими коровами. При проектуванні стійла обов'язково враховуються габарити кожної тварини. В даний час використовують довгі корівники з бетонними годівницями. При цьому способі корови обмежені в переміщенні і огорожі не потрібні. Кожній тварині повинно бути забезпечено в середньому 2,5 кв.м. площі. Для прибирання гною використовуються стаціонарні збирачі і зливні системи.

Переваги прив'язного способу:

  • Кожна корова отримує корми і добавки унормовано.
  • Тварини не штовхаються.
  • Корів простіше перерахувати.
  • Легше відстежувати фізіологічний стан тварини і проводити профілактичні заходи.
  • Зменшуються витрати на корм на 10-15 відсотків.

При цьому методі мінімізуються автоматичні процеси, збільшуються трудовитрати. При доїнні рекомендується застосування доїльних апаратів і молокопроводу.

Допускається утримання тварин безприв'язним способом

Цей спосіб застосовується в господарствах, де міститься велика поголів'я худоби – більше 400 тварин. Тварини знаходяться на фермі без прив'язі до стійл. Доїння відбувається в окремому приміщенні. Все поголів'я безперешкодно переміщується всередині корівника і на майданчиках для вигулу.

Загін для корів

При такому методі тваринам забезпечуються умови утримання, максимально відповідні для їх фізіології. Переваги безприв'язного способу:

  • Збільшення продуктивності роботи з тваринами.
  • Всі трудомісткі процеси автоматизовані.
  • Не потрібно обладнати додаткові пасовища.

Недоліки безприв'язного способу:

  • Потрібно персонал з навичками експлуатації сучасної техніки.
  • Необхідність посилення ветеринарного контролю за стадом.
  • Через частого взаємодії один з одним у тварин підвищується нервозність.
  • Витрата кормів збільшується на 5-7 відсотків.

Щоб знизити напругу в стаді, потрібно поділ на фізіологічні групи. Для зменшення втрати кормів знижується кількість годівниць, це допоможе скоротити час на роздачу.

зміст корів

З урахуванням кліматичних умов і потенціалу тваринницької ферми вибирається спосіб утримання.
Стійлово-пасовищне утримання. Тварини взимку перебувають у приміщенні з періодичним вигулом в загоні, а влітку весь час на вигоні. У таких місцях споруджуються спеціальні загони для корів.Кожній тварині забезпечується доступ до води, зелені, кормів. Обов'язково в загоні повинен бути навіс, де тварини можуть сховатися від негоди й сонця.

При стійлово-вигульному методі змісту стадо знаходиться в приміщенні, поруч з яким розміщується загін для щоденного вигулу тварин.

У фермерських господарствах з великими площами угідь можливо утримання корів пасовищним способом. Фермер підбирає корм, який буде підходити для всіх груп корів. Вся ділянка засівається різноманітної кормової рослинністю. Спочатку тварини випасаються на площі з височинами, щоб трава не встигла вигоріти під сонцем, після чого стадо переміщують на іншу ділянку. Такий зміст позитивно впливає на репродуктивну функцію тварин.

При відсутності пасовищ або прискорених несприятливих погодних умовах застосовується стійлового система змісту. Тварини цілий рік знаходяться в стійлах без вигулу. У районах Сибіру і Білорусії зазвичай застосовують в літній час пасовищне утримання гібрида яка і корови, а взимку стойловое. Природні зони Закавказзя дозволяють утримувати тварин цілий рік стійлово-вигульних способом, а гірські стійлово-пасовищного.

зміст телят

Для утримання молодняку ​​прийнятні обидва способи, але оптимальним вважається метод без прив'язі. Тварини постійно знаходяться в русі, від чого у них правильно формується скелет, а на копитах наростає необхідний захисний шар. Для збереження тепла і створення сприятливих умов підлогу покривається підстилкою із соломи.

Зміст телят без прив'язі

Існує також варіант боксового безприв'язного утримання. У кожної тварини є свій бокс із сухою лежанкою. Солома використовується тільки в крайніх випадках. На фермах з невеликою кількістю корів застосовують прив'язний метод на пасовищах.

Умови утримання биків

Бичков містять разом з коровами, але для них обов'язково потрібно організувати окреме стійло з годівницею. При утриманні биків потрібно фіксація прив'язі. Биков не можна прив'язувати за роги або кільце в носі, тільки за шию. Деякі фермерські господарства займаються вирощуванням агресивних биків. Доглядати за ними може тільки досвідчений тваринник, якого не рекомендується міняти.

Бики не люблять коли з ними спілкуються на підвищених тонах, звертатися з ними потрібно спокійно і без грубості. При прояві до тварини грубості, він відразу стає агресивним, після чого його важко заспокоїти, що вельми небезпечно для тваринника.

Якщо тварина вирощується для виробництва м'яса, йому потрібно забезпечити необхідну рухливість, щоб не сталося ожиріння. Такий стан часто викликає підвищену агресію у тварини.

При вирощуванні биків необхідно правильно організувати їх харчування. Неправильний раціон може погано вплинути на потенцію бугаїв-плідників. Перед великими статевими навантаженнями тварини рясно відгодовуються з додаванням білків і вітамінно-мінеральних добавок. Перед годуванням необхідно споювати свіжу рідину тричі на день, а відразу після спаровування вода не дається.

Приміщення на 10 голів молочного ВРХ в фермерському господарстві – відео:

Помітили помилку? Виділіть її та натисніть Ctrl + Enter, Щоб повідомити нам.